ユーザー選択を一括更新!

一括更新プラグインで、一覧画面からユーザー選択項目をまとめて更新できます。
さらに詳細画面でも、担当者や期限など指定項目だけをピンポイントで変更可能です。

概要

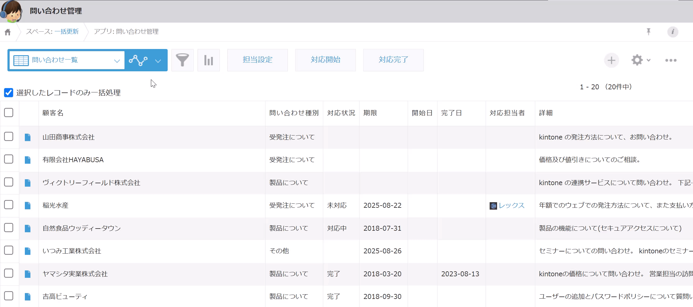
問合せ管理アプリを例に、対応担当者・対応状況・期限を一括セットするケースを紹介します。
ユーザー選択・日付・文字列など、業務に合わせて柔軟に組み合わせて設定できます。

  • 一覧画面で一括更新

  • 詳細画面で担当者を更新

操作例

2025-08-22_14h19_54

参考Qiita記事

rex0220 一括更新プラグイン ユーザー選択の更新