データ生成プラグイン Ver.32 バージョンアップのお知らせ

データ生成プラグインにつきましてバージョンアップを行いましたので、お知らせいたします。

既存レコードから他アプリへレコードをコピーしたり、テーブル行をレコードに変換するプラグインです。
レコード更新時の自動処理、ボタンクリックによる一括操作が可能です。

※ Ver.32
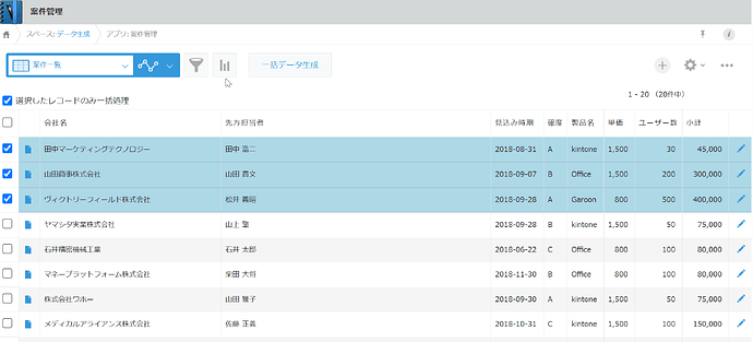
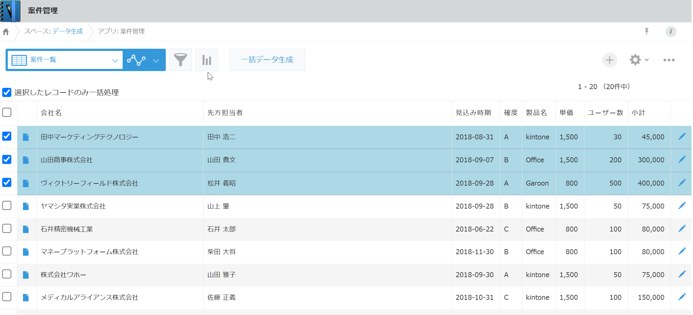
・「選択したレコードのみ一括処理」を追加

「いいね!」 1